Top Fuel’s Supercharged JDM FT-86

Daily Slideshow: Top Fuel shows the potential in the FT-86 package with simple mods.
By: Aria Goshi | June 8, 2021

Daily Slideshow: Top Fuel shows the potential in the FT-86 package with simple mods.
By: Aria Goshi | June 8, 2021

Daily Slideshow: Feast your eyes on this gorgeous Corolla Levin track build.
By: Aria Goshi | June 2, 2021

Daily Slideshow: Did the fear of competing with the Corvette force Toyota to hold the Supra back?
By: Aria Goshi | May 28, 2021

Daily Slideshow: The visually unloved Toyota Verossa becomes the basis for a unique drift build in the US.
By: Aria Goshi | May 24, 2021

Daily Slideshow: From humble beginnings to awe-inspiring drift build within a few years.
By: Aria Goshi | May 18, 2021

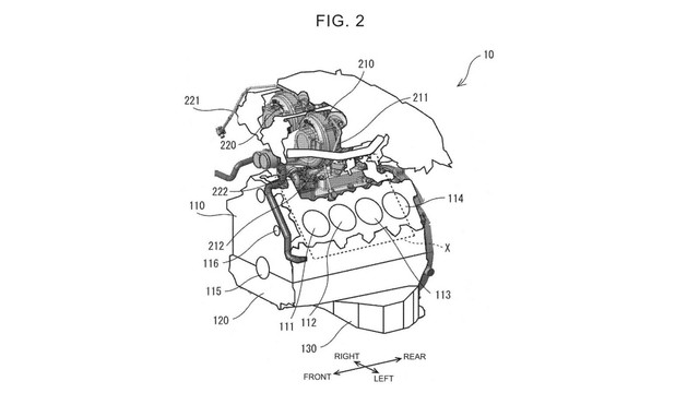
Daily Slideshow: The cat’s out of the bag, there will be a Lexus twin-turbo V8.
By: Aria Goshi | May 12, 2021

Daily Slideshow: There’s no better feeling than the satisfaction of completing a successful DIY project.
By: Aria Goshi | May 5, 2021